MCA Front mounted roller shutters
OUTBOX
The Outbox roller shutter is the ideal solution for the installation on the existing window frames. There are two types of boxes that harmonize perfectly with the the details of the facade.
Benefits
- Mild temperature in your house during the hot summer days
- Eco friendly cooling solution
- Healthy cooling solution
- Discourage intruders and provides burglary resistance
- Quick protection of the window in case of heavy rainfall, hail and storm.
- Sound insulation - roller shutters minimize all type of sounds, bothersome noises remain outside
- In many cases the usage of a solar shading system can make an active cooling system superfluous.
- Wide variety of colors and wood imitation
- Manual or electric command
- Insect reppeling screens can be integrated in the system
- Provents heating energy loss during wintertime
- Reduce by 10% the heating energy consumtion
Video presentations
-
OUTBOX - MCA front mounted roller shutter with integrated insect net, square shaped box, ribbon driven
-
OUTBOX - MCA front mounted double roller shutter with integrated insect net, square shaped box, ribbon and crank driven
-
OUTBOX - MCA front mounted roller shutter with integrated insect net, square shaped box, remote controled
-
OUTBOX - MCA front mounted roller shutter with integrated insect net, round shaped box, ribbon driven
-
OUTBOX - MCA front mounted double roller shutter with integrated insect net, round shaped box, remote controled
-
OUTBOX - MCA front mounted double roller shutter with integrated insect net, round shaped box, with spring and keylock
Accessories and drivers
Colors for 37 mm slats
Colors for 55mm slats
Tehnical details MCA roller shutters
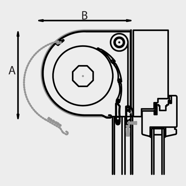
OUTBOX - MCA front mounted roller shutter square shaped box
| Slate | Box size | Guide rail size | Max. width |
Max. Hight | Max. Surface | ||||
|---|---|---|---|---|---|---|---|---|---|
| 37mm | A | B | C | D | 2600mm | Ribbon | Crank/Spring/Electric | Ribbon/Snur | Crank/Spring/Electric |
| 138mm | 138mm | 22mm | 53mm - simplu 85mm - “H” |
1670mm | 1500mm | 2.5mp | 5mp | ||
| 150mm | 150mm | 2150mm | 2010mm | ||||||
| 165mm | 165mm | 2800mm | 2500mm | ||||||
| 180mm | 180mm | 3180mm | 2880mm | ||||||
| 205mm | 205mm | 3900mm | 3500mm | ||||||
OUTBOX - MCA front mounted roller shutter with integrated insect net, square shaped box
| Slate | Box size | Guide rail size | Max. width |
Max. Hight | Max. Surface | ||||
|---|---|---|---|---|---|---|---|---|---|
| 37mm | A | B | C | D | 2600mm | Ribbon | Crank/Spring/Electric | Ribbon/Snur | Crank/Spring/Electric |
| 138mm | 138mm | 39mm | 53mm | 1100mm | 801mm | 2.5mp | 5mp | ||
| 150mm | 150mm | 1530mm | 1330mm | ||||||
| 165mm | 165mm | 2170mm | 1730mm | ||||||
| 180mm | 180mm | 2500mm | 2500mm | ||||||
| 205mm | 205mm | 2500mm | 2500mm | ||||||
OUTBOX - MCA front mounted roller shutter round shaped box,
| Slate | Box size | Guide rail size | Max. width |
Max. Hight | Max. Surface | ||||
|---|---|---|---|---|---|---|---|---|---|
| 37mm | A | B | C | D | 2600mm | Ribbon | Crank/Spring/Electric | Ribbon/Snur | Crank/Spring/Electric |
| 138mm | 138mm | 22mm | 53 mm -simplu 85 mm - “H” |
1670mm | 1500mm | 2.5mp | 5mp | ||
| 165mm | 165mm | 2700mm | 2450mm | ||||||
| 180mm | 180mm | 3270mm | 3050mm | ||||||
OUTBOX - MCA front mounted roller shutter with integrated insect net, round shaped box
| Slate | Box size | Guide rail size | Max. width |
Max. Hight | Max. Surface | ||||
|---|---|---|---|---|---|---|---|---|---|
| 37mm | A | B | C | D | 2600mm | Ribbon | Crank/Spring/Electric | Ribbon/Snur | Crank/Spring/Electric |
| 138mm | 138mm | 39mm | 53mm | 1100mm | 800mm | 2.5mp | 5mp | ||
| 165mm | 138mm | 2430mm | 2060mm | ||||||
| 180mm | 180mm | 250mm | 2060mm | ||||||
OUTBOX - MCA front mounted roller shutter square shaped box
| Slate | Box size | w/o integrated insect net electric (button or remote) |
||
|---|---|---|---|---|
| 55mm | A | B | Max. Hight | Max. Surface |
| 205mm | 205mm | 1920mm | 7mp | |
| 250mm | 250mm | 3380mm | 8mp | |
| 300mm | 300mm | 4300mm | 8mp | |





































